您好!欢迎访问安徽胜杰工业搪瓷装备有限公司!
设为首页 | 加为收藏

安徽胜杰工业搪瓷装备有限公司

专业新型片式冷凝器、搪玻璃管道、搪玻璃片式冷凝器生产厂家

全国咨询热线

138-0151-0268

你的位置:首页 > 产品展示 > 塔节系列

搪瓷塔节


产品信息

公司主要生产的搪玻璃设备有:搪玻璃新型片式冷凝器、搪玻璃管道、搪瓷碟片式冷凝器、搪瓷管道、搪瓷塔节、列管式冷凝器、螺旋板式换热器、钢衬四氟管道、搪瓷测温阀、搪玻璃设备、搪瓷设备、非标搅拌及各种非标设备等。敬请广大新老客户光临洽谈,并向多年关心我公司的新老客户致谢!

咨询热线:

138-0151-0268

  • 产品详情





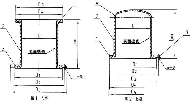
1 搪瓷塔节标记为:

   塔节 ①②-③④⑤⑥
   其中:
   ①——公称压力,用PN××表示,单位为兆帕(MPa);
   ②——公称直径,用DN××表示,单位为毫米(mm);
   ③——型式,用A或B表示
   ④——连接型式,用Ⅰ或Ⅱ表示
   ⑤——长度,用L表示,单位为毫米(mm);
   ⑥——标准号,HG/T3127
   示例:

   公称压力PN0.6MPa,公称直径DN1000mm,高颈法兰联接的A型搪瓷塔节、长度为2000mm塔节PN0.6DN1000-AⅡL=2000mm HG/T3127


2 技术要求

2.1 搪瓷塔节的设计、制造、检验及验收应符合HG 2432的要求。
2.2 搪瓷塔节的形位公差按HG/T2637搪瓷件几何尺寸检测方法进行检测,其结果应符合表4的规定。

表4 搪瓷塔节形位公差

名称
公称直径 DN
DN≤1000
1000<DN≤2000
塔节法兰平面度
2
0.2%DN
塔节法兰对塔节法兰平行度
1%DN且不大于5
0.5%DN且不大于7
塔节直线度
0.3%L
塔节法兰对塔节轴线的垂直度
150~250
300~1000
1100~1600
1750~2000
2.5
3.5
4.5
5.5

3 标牌、出场文件、包装、运输和贮存
3.1 产品标牌按HG2432的有关规定。
3.2
出厂产品应有装箱单、产品合格证,质量证明书。质量证明书至少包括材料的化学成分和力学性能、公称压力、公称直径、主要尺寸和检验报告等内容。
3.3 包装、运输按HG2432的有关规定。
3.4 外露的搪瓷面必须严格保护。
3.5 产品出厂前应妥善保管,防止雨雪天气及腐蚀性介质侵蚀,一般不允许露天存放。

表1明细表

件号
标准号
名称
数量
材料
备注
1
HG/T2049
高颈法兰
/
符合HG2432
/
2
GB/T7996
塔  体
1
符合HG2432
/
3
HG/T2105
活套法兰
/
符合HG/T2105
/
4
JB/T4746
塔节封头
1
符合HG2432
/


表2主要尺寸

公称直径DN
D
D1
D2
D3
Lmin
n-Ф
150
150
212
240
285
500
8-22
200
207
268
295
340
500
8-22
250
257
320
350
395
500
12-22
300
303
370
400
445
500
12-22
400
403
482
515
565
500
16-26


上一产品:衬四氟管件 下一产品:搪玻璃塔节

相关产品

扫一扫,关注我们

安徽胜杰工业搪瓷装备有限公司

邮箱:2360904494@qq.com

官网:www.sjhgzb.com

地址:安徽省滁州市定远县炉桥镇乡村振兴产业园

版权所有 © 安徽胜杰工业搪瓷装备有限公司,本网站部分图片来源于互联网,如果涉及版权问题,请按网站上公布的联系方式告知删除。皖ICP备2024064634号
咨询热线
24小时服务热线
138-0151-0268
伊经理